當頭號對手Mercedes-Benz祭出「Tomorrow XX」計畫,試圖降低保養與零件更換門檻時,BMW卻似乎走向另一條路。外媒近日發現,BMW申請了一項相當特殊的新專利:螺絲頭直接做成BMW廠徽造型,一旦成真,恐怕會讓DIY維修與副廠施工難度大幅提升。

螺絲頭變成BMW廠徽,工具恐怕也要「原廠限定」
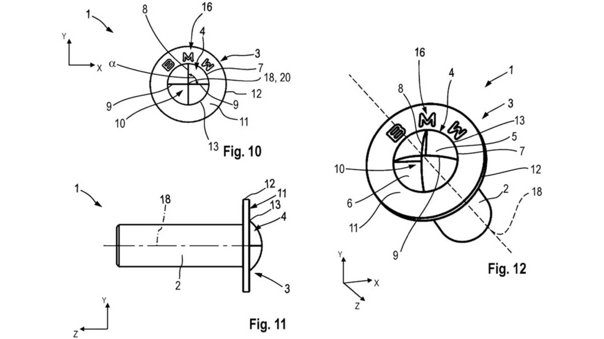
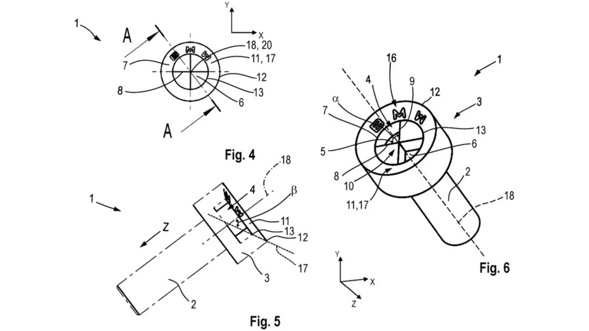
根據專利文件顯示,BMW構想中的新型螺絲,螺絲頭並非傳統的一字、十字、Torx或六角,而是以BMW圓形廠徽為靈感,分成四個象限,其中部分區塊為凹面、部分為平面或凸起。
專利中一共描繪了四種不同形式的螺絲頭,包括內六角型、平頭與圓頭等,但共通點只有一個:一般螺絲起子或工具幾乎不可能直接拆卸。換句話說,未來若這類螺絲真的用在車輛結構、內裝或引擎室關鍵位置,想要動手保養或更換零件,勢必要使用「對應的專用工具」。

對技師與車主不友善?外界質疑聲浪不小
這項設計一曝光,立刻在車迷與技師社群引發討論。許多人直言,這類「品牌專屬螺絲」恐怕不是為了美觀,而是實質提高非原廠維修門檻。對民間保修廠而言,BMW使用專利螺絲,意味著外廠要維修就得額外向BMW添購工具;對喜歡自己動手的車主來說,則可能直接被擋在門外,迫使大家只能回原廠處理。
也有網友擔心,若未來車輛大量採用此類設計,將與近年歐美推動的「維修權(Right to Repair)」理念背道而馳。

網友冷靜看待:副廠工具一定更快出現
當然,也不是所有人都悲觀看待。有不少網友笑稱,只要BMW真的量產,副廠工具恐怕比原廠還早上市,甚至有人調侃:「可能在BMW正式用上之前,淘寶、AliExpress、Temu就已經買得到對應起子了」、「越是逼我回原廠,我就越要在外廠修」、「如果拿來當防盜螺絲鎖鎖車牌還可以啦,用來鎖引擎或底盤根本多此一舉」。
更實際的對策也被提出:「只要第一次拆得下來,直接換成一般螺絲就好」、「專利螺絲一出來,一定有神人能用3D列印做出拆卸的工具」、「高手在民間,破解這個螺絲應該很快」、「反正想辦法跟BMW拿到一顆螺絲,然後研究怎麼做出專屬螺絲起子就搞定」。

目前仍停留在專利階段,未必會量產
需要強調的是,這項BMW「廠徽螺絲」目前僅止於專利文件。該專利於2024年6月申請、2025年12月公開,是否真的會導入量產車,仍存在高度不確定性。
汽車產業中,許多專利最終都只是概念測試,並不一定會實際上路。

不過,這項設計確實再次點出一個現實問題:在電動化、數位化與高度整合的時代,汽車正一步步變得更難自行維修。BMW這顆「專利螺絲」會不會真的上車,仍有待觀察,但它已成功引發討論,也讓車主們開始重新思考:未來修車,還能不能只靠一組工具箱。
延伸閱讀: