在電動化浪潮與自排變速箱全面主流化的趨勢下,「手排車」似乎正逐漸走向歷史。然而,向來重視駕駛樂趣的Porsche(保時捷),近期卻提出一項相當大膽的新構想:打造一套結合手排操作與自排便利性的全新變速系統,試圖為手排續命。
手排逐漸式微,保時捷仍不願放手
事實上,手排變速箱在性能車市場的地位早已不如以往。早在2013年,Porsche就在991世代911 GT3上取消手排配置,全面改採PDK雙離合器變速箱,當時引發不少車迷反彈。最終原廠在後期(991.2)重新導入手排,並延續至今。
儘管近年手排車出現小幅回溫,但在電動車興起與排放法規趨嚴的背景下,手排未來仍充滿不確定性。

新專利曝光!手排+自排二合一概念
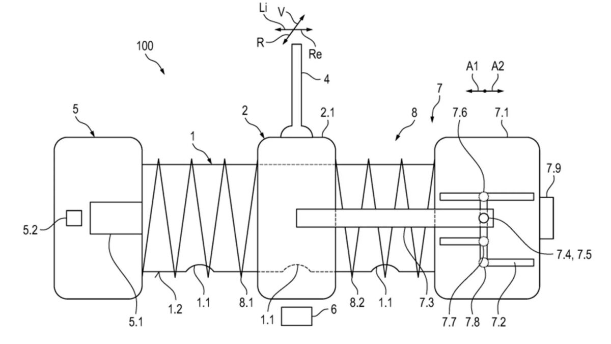
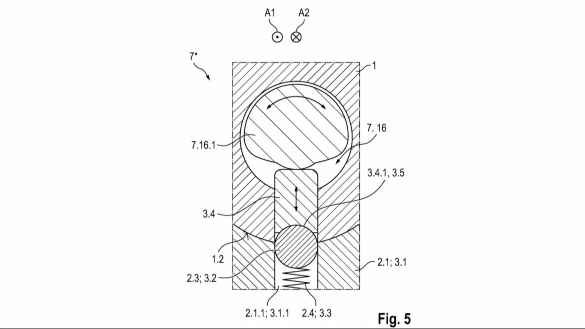
根據最新曝光的專利文件,Porsche正研究一種「雙模式變速系統」,讓同一套變速箱同時具備自排與手排兩種操作方式。
在自排模式下,駕駛可透過排檔桿前後操作選擇Drive、Neutral與Reverse,就像一般自排車一樣輕鬆駕駛。

而當駕駛想要享受操控樂趣時,則可切換至「H型手排模式」,透過傳統打檔路徑與離合器踏板,體驗純正手排駕駛感。
簡單來說,這套系統的目標是「一車兩用」,兼顧日常通勤與熱血操駕需求。

類似技術已有先例!超跑品牌率先嘗試
這樣的概念其實並非首次出現。瑞典超跑品牌Koenigsegg在CC850與Chimera上,已導入類似設計。該系統透過多組離合器與複雜電子控制,讓變速箱在自排與手排之間切換,同時保留真實的離合器腳感與打檔回饋。
不過,這類技術目前僅存在於動輒數百萬美元的超跑上,主要原因就在於其結構極為複雜、開發成本高昂。

最大挑戰:成本與量產可行性
對Porsche而言,真正的難題並非技術本身,而是「能否量產」。
Koenigsegg能將高昂成本轉嫁給少量高端客戶,但Porsche的產品線涵蓋更廣泛市場,價格帶與銷量規模都不同,若要導入類似技術,勢必面臨成本壓力。
此外,現行的PDK雙離合器變速箱已相當成熟,換檔速度與效率遠勝傳統手排,對多數消費者而言已是最佳解決方案。因此,這套新系統是否能在實用性與成本之間取得平衡,仍是一大問號。

為不同族群找解方,手排與自排不必二選一?
不過,從市場角度來看,Porsche此舉也反映出一個現象:消費者需求正在分化。一部分車主堅持手排帶來的駕駛參與感,而另一部分則偏好自排的便利性與舒適性。若能透過一套系統同時滿足兩者,確實具有吸引力。對Porsche而言,這或許是一種折衷方案,在不放棄駕駛樂趣的前提下,順應市場與技術發展。

手排未來仍有一線生機?
整體來看,這項專利雖然仍停留在概念與研發階段,但已透露出Porsche對手排文化的重視。
在電動車逐漸成為主流的未來,純粹的機械手排或許終將式微,但透過創新技術延續駕駛樂趣,或許會成為新的方向。至於這套「手排+自排」變速系統最終是否會量產,仍有待觀察。但可以確定的是,至少在Porsche眼中,手排還沒有走到終點。
延伸閱讀: