豪華車市場向來將「舒適性」視為兵家必爭之地,而Mercedes-Benz更是其中代表品牌。早在1990年代末、2000年代初期,賓士便率先在量產車上導入按摩座椅功能,讓駕駛在通勤途中也能享受類似SPA般的體驗。時至今日,許多高階車款都已配備背部或腰部按摩功能,但「頭部按摩」仍是市場上的空白地帶。不過這樣的情況,未來或許將改變。
新專利曝光:按摩功能延伸至頭枕
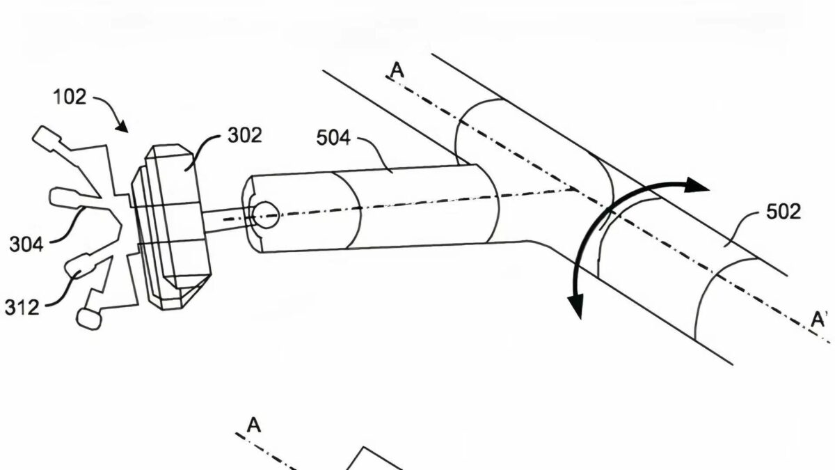
根據向德國專利商標局提交的最新專利文件顯示,賓士正研究將按摩系統整合進頭枕之中。這項技術構想是在頭枕內部設置一個中央模組,並延伸出多個機械臂結構,每一支機械臂都能進行細微的移動、震動與旋轉動作,藉此提供包覆頭部的溫和按摩效果。

不同於傳統座椅按摩針對背部大面積施力,頭枕空間有限,因此設計上強調「細膩」而非強烈推壓。若力道過大,反而可能造成駕駛分心甚至不適。因此專利描述中的按摩方式,偏向溫和撫觸與輕微震動,營造放鬆效果。

可依駕駛身高與頭部位置自動調整
更值得注意的是,這套系統還將搭配感測器,可偵測駕駛者的身高與頭部實際位置。換言之,按摩動作並非固定模式,而是能依不同駕駛者自動調整位置與角度,提升貼合度與舒適性。
這樣的設計若能實現,等於將車室舒適科技再推進一步。畢竟長時間駕駛容易造成肩頸與後腦部緊繃,若能在行駛途中透過頭枕進行適度放鬆,對於長途用車族群而言頗具吸引力。

未來還會加入頸部按摩?
專利內容也引發外界更多想像:若頭枕可整合按摩機構,未來是否可能延伸至頸部區域?雖然頸部並不像背部長時間貼合座椅,要設計出有效且不干擾駕駛的機構並不容易,但隨著自動駕駛與智慧座艙發展,舒適科技勢必成為豪華品牌新的競爭焦點。

當然,專利申請並不代表產品一定會量產。車廠每年都會申請大量創新構想,其中不少最終並未進入市售車型。因此這項頭枕按摩技術是否真正出現在未來賓士車款上,仍有待觀察。 不過可以確定的是,賓士仍持續在豪華與舒適領域投入研發。從當年率先導入按摩座椅,到如今構思頭部與頸部按摩系統,品牌對於車室放鬆體驗的追求,顯然還沒有停下腳步。
延伸閱讀: