隨著現代汽車科技不斷堆疊,從駕駛輔助系統、數位座艙到精密燈具設計,車輛內部的線組也隨之急速膨脹,線束長度越來越長、結構越來越複雜,不僅增加重量,也提高設計、維修與可靠度上的負擔,針對這個長期被忽視、卻又無所不在的工程問題,Mercedes-Benz近期申請的一項全新專利,試圖從車尾尾門與尾燈結構下手,移除被認為是現代尾燈設計中「最笨拙、最惱人」的一環。
這項專利最早由外媒CarBuzz發現,並已正式向德國智慧財產局註冊,專利內容揭露Mercedes-Benz計畫以彈簧加載式的機械接點,取代傳統必須穿越尾門或行李廂蓋的柔性線束,換言之原本為了因應尾門開闔、必須反覆彎折的電線與保護套管,未來有機會完全消失,改由設置於可動鈑件內部的機械式接點,透過實體接觸來傳遞電力與訊號。
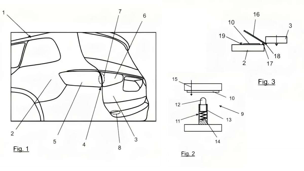
這種作法並非重新發明輪子,而是將早已存在多年的彈簧接點概念,導入現代汽車尾燈結構之中,當尾門關閉時,設於尾門內側的接點會與車體上的固定接點接觸,形成穩定的電力與訊號通道;尾門開啟後,接點自然分離,不再需要任何柔性線束承受彎折與拉扯。
從專利附圖來看,其示意車款極可能是現行GLS,這類大型SUV採用分離式尾燈設計,尾燈一部分設於車身側板,另一部分則位於尾門本體,當尾門開啟時,尾燈自然一分為二,也因此必須透過長距離線束,將電力與控制訊號引入尾門。
Mercedes-Benz的專利構想,正是針對這類設計而來,透過機械式切換裝置,電力可由靠近主線束的外側尾燈模組,直接「跨接」至尾門上的燈具區塊,線路距離大幅縮短,也不再需要讓線束反覆穿越活動鉸鏈區域,這不僅能減少線材用量,也同步降低結構複雜度與潛在故障點。
在一般現代車輛中,線束總長度接近一英里已非罕見,其重量甚至可能佔整車重量的百分之三到四,這些線路不只設計困難、除錯不易,對車輛輕量化與能源效率也是一種隱形負擔,雖然沒有單一解方能一次解決線束問題,但工程師普遍認為,持續「削減一點點」才是長期方向。
此外,複雜線束也意味著更高的維修成本,尾門線束長期承受彎折,時間一久便可能出現斷線、接觸不良等問題,往往需要拆卸內裝、甚至更換整組線路,對車主而言並不友善,若能透過模組化、機械式結構來簡化設計,不僅維修更直覺,也更符合永續發展的方向。

回顧汽車燈具的演進,過去的尾燈與方向燈結構其實相當單純,隨著安全法規提升、亮度與照射範圍需求增加,加上品牌識別逐漸仰賴燈光設計,燈具體積與複雜度也水漲船高,當車尾造型又必須兼顧空氣力學與寬敞的尾門開口時,分離式尾燈幾乎成為不可避免的結果,而線束問題也正是從那一刻開始變得棘手。
近年來,橫貫車尾的燈條設計蔚為風潮,更進一步放大了燈具與線路配置的難度,Mercedes-Benz此次提出的專利,正是在這樣的設計趨勢下,試圖替工程端找回一點「簡單」。
當然,這套看似聰明的機械式接點設計,也並非毫無風險,尾門區域長期暴露於灰塵、泥沙與惡劣天候之中,尤其是經常越野或在雨雪環境下行駛的車輛,更容易累積汙垢,若接點缺乏足夠防護或自清能力,即便只是一層薄薄的灰塵,也可能導致整個尾燈系統失效。

Mercedes-Benz目前並未在任何量產車型上採用此類設計,專利的存在也不代表未來一定會導入。如何在可靠度、成本與長期耐用性之間取得平衡,仍有賴原廠研發團隊投入大量測試與驗證,因此短期內出現在量產車上的可能性並不高。
值得注意的是,這項專利與Mercedes-Benz近年來強調的「可維修化、可拆解」策略高度一致,品牌在2025年底已公開指出,未來將以螺絲取代黏著膠與樹脂,讓頭燈等高價零組件能夠分解維修,而非一損壞就整組報廢,尾燈線路若能同樣模組化,無疑將進一步降低浪費與維修成本。
在汽車科技持續堆疊的時代背景下,如何在不犧牲功能的前提下,讓結構回歸簡化與輕量,成為各大車廠共同面對的課題,Mercedes-Benz這項看似低科技、卻極具工程思維的尾燈專利,正展現出工程師嘗試以全新角度,解決老問題的努力。未來是否能真正走入量產,端看其能否通過現實使用環境的嚴苛考驗,但至少已為汽車電子複雜化的困境,提供了一條值得關注的新思路。
延伸閱讀: