在各大車廠積極投入ADAS先進駕駛輔助系統的浪潮中,Honda近來也將目光從四輪延伸至二輪領域。根據最新曝光的專利文件顯示,Honda正在研發一套專為機車打造的安全輔助系統,核心目標正是提升騎士在實際道路環境中的主動安全表現,尤其針對機車族長期以來最容易忽略、也最難防範的盲點風險。
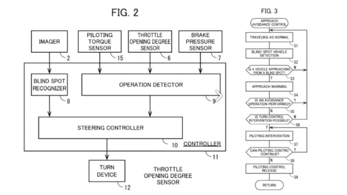
從專利內容來看,這套系統主要透過車身所配置的攝影鏡頭,即時監控機車周邊環境,特別是後方與側後方的盲區範圍。系統判定有其他車輛快速接近,且存在潛在碰撞風險時,便會介入轉向系統,協助機車避開危險路徑。這樣的運作邏輯,其實與目前汽車上常見的盲點輔助轉向、車道維持系統頗為相似,只是這回Honda嘗試將其移植到摩托車上。
更多新聞:本田讓寶可夢機車成真!Honda Koraidon完全還原遊戲細節
更多新聞:Honda SC e:第2款換電式電動機車 125動力級距續航力上看100公里
不過,Honda也相當清楚,機車畢竟只有兩個輪子,任何轉向角度的變化,都可能直接影響車輛穩定性,甚至動搖騎士的信心。因此在專利設計中,Honda並非採取一有風險就強制介入的方式,而是透過更細膩的判斷邏輯,且循序漸進盡量避免驚動到騎士發生危險。
根據專利描述,系統會持續監測騎士當下的操作狀態,包括是否已經開始進行轉向、加速或煞車等動作。如果系統判斷騎士已有明確反應,代表騎士本身已察覺到接近的車輛,那麼輔助系統便不會過度介入,而是提供適度的轉向輔助回饋,協助騎士完成避險動作。

反之,若在危險逼近的當下,騎士並未出現任何操作反應,系統則會判定騎士可能尚未注意到潛在風險。此時,輔助轉向同樣不會突然大幅作動,而是以循序漸進的方式,逐步增加轉向力道,避免車輛瞬間改變行進方向,造成騎士驚嚇甚至失控。從技術思維來看,Honda試圖降低突兀介入所帶來的風險。
但話說回來,理論終究必須回到現實層面檢視。由於這套系統高度仰賴攝影鏡頭進行判斷,若遇到鏡頭污損、雨水、泥沙附著,或是在光影交錯、逆光等複雜環境下,是否可能出現誤判?仍是值得關注的課題。對機車而言,任何錯誤的轉向輔助,都可能帶來比汽車更嚴重的後果,這也是未來量產前勢必得經過大量測試與驗證的關鍵。

至於實際應用層面,這套輔助系統未來可能會優先導入巡航車款,或是跨界、冒險取向的車型。這類車款往往承擔長距離騎乘任務,高速巡航與長時間行駛下,騎士更容易因疲勞而降低警覺性,若能透過系統輔助降低盲點風險,確實有其實際價值。
但無論科技如何進步,不論是開車還是騎車,駕駛者始終必須對路況與車輛周遭環境負起最終責任。輔助系統的角色,終究只是輔助,而非可以完全依賴的替代品。唯有正確理解輔助科技的角色,才能真正讓安全配備發揮它應有的價值。
延伸閱讀: